ANKARA (AA) - Şehitlik yerlerinin tespiti, yönetimi, inşası, bakımı, onarımı ve koruma işlemleri ile şehitliklere kimlerin defnedileceğine ilişkin esasları düzenleyen "Şehitlik Yönetmeliği" ile şehitlikler belirlenen standartlara göre yapılacak.
Milli Savunma Bakanlığının yazısı ile Bakanlar Kurulunca 3 Ekim 2016 tarihinde kararlaştırılan "Şehitlik Yönetmeliği", Resmi Gazetede yayımlandı.
Yönetmelikle, şehitlik yerlerinin tespiti, tescili, tahsisi, yönetimi, inşası, bakımı, onarımı, koruma işlemleri ve şehitliklere kimlerin defnedileceğine ilişkin usul ve esaslar düzenleniyor.
Yönetmeliğe göre, Milli Savunma Bakanlığı, Genelkurmay Başkanlığı, Kara, Deniz ve Hava Kuvvetleri komutanlıklarında görev yapan subay, sözleşmeli subay, astsubay, sözleşmeli astsubay, uzman erbaş, sözleşmeli erbaş ve erler; Jandarma Genel Komutanlığında jandarma hizmetleri sınıfında ve Sahil Güvenlik Komutanlığında sahil güvenlik hizmetleri sınıfında bulunan kamu personeli, sözleşmeli subay ve astsubaylar, uzman erbaşlar ve sözleşmeli erbaş ve erler; Emniyet Teşkilatında emniyet hizmetleri sınıfında bulunan kamu personeli, Milli İstihbarat Teşkilatı mensupları ile askerlik yükümlülüğünü yerine getiren yedek subay, erbaş ve erler ile geçici ve gönüllü köy korucularından yönetmelikte belirtilen durumlarda hayatını kaybedenler şehitliklere defnedilecek.
Bunun dışında merkezi yönetim dışındaki kamu idareleri ile sosyal güvelik kurumlarında görev yapan ve yukarıda belirtilenler arasında yer almayan kamu personelinden, yönetmelikte belirtilen maddeler içinde yer alanlar da bu kapsamda olacak.
- 15 Temmuz şehitleri de yönetmelik kapsamında
Fetullahçı Terör Örgütü'nün (FETÖ) 15 Temmuz'daki darbe girişimine karşı koyduğu sırada, hayatını kaybedenler ile yaralananlardan, daha sonra bu yaralanmanın sebep ve tesiri ile hayatını kaybettiği değerlendirilenler, bu yönetmelik hükümlerine göre şehitliklere defnedilecek.
Şehitliklere kimlerin defnedilmeyeceğinin de düzenlendiği yönetmeliğe göre, kasıt, disiplinsizlik veya suç teşkil ettiği değerlendirilen eylemleri sonucu hayatını kaybedenler, bünyesel rahatsızlık veya hastalık, intihar veya intihara teşebbüs, uyuşturucu, bağımlılık yapıcı veya keyif verici madde kullanımı, kendisini askerliğe veya göreve elverişsiz hale getirme sebebiyle meydana geldiği değerlendirilen kaza ve olaylar sonucu hayatını kaybedenler ise şehitliklere defnedilmeyecek.
Şehitliklere, kanuni izinler, hava değişimi veya bunlara gidiş ve dönüşler esnasında hayatını kaybedenler ile bakaya, firar, izin tecavüzü ve hava değişimi tecavüzündeyken hayatını kaybedenler gömülmeyecek.
- Defin için aileden yazılı beyan alınacak
Şehitliğe defin kararını, Milli Savunma Bakanlığı ve Genelkurmay Başkanlığında görev yapan subay, sözleşmeli subay, astsubay, sözleşmeli astsubay, uzman erbaş, sözleşmeli erbaş ve erler ile askerlik yükümlülüğünü yerine getiren yedek subay, erbaş ve erler hakkında, bağlı bulundukları kuvvet komutanlığı, diğer kamu personeli hakkında da ilgisine göre Milli Savunma Bakanlığı ve Genelkurmay Başkanlığı veya bunların yetki vereceği makamlar alacak.
Şehitliğe defin kararı veren makam tarafından, hayatını kaybeden kişinin sırasıyla eşinden, en büyük reşit çocuğundan, annesinden, babasından, en büyük reşit kardeşinden hangi şehitliğe ya da mezarlığa defin yapılmasını talep ettiğine dair yazılı beyan istenecek. Defnin yapılacağı il valiliğine bildirilecek olan beyan, belirtilen sıraya uygun olarak hayatını kaybeden kişinin yalnızca bir yakınından alınacak.
Defne ilişkin gerekli hazırlıkların yapılmasının ardından, hayatını kaybeden kişinin yakınının talebi sebebiyle şehitlikler dışındaki mezarlıklara defin işlemlerini yerel yönetimler koordine edecek.
- Temsili mezar
Şehitliğe ilişkin gerekli şartları taşıyan kişi hakkında gaiplik kararı alınması halinde, gaiplik kararı alınan kişinin eşinin, eşi yoksa sırasıyla en büyük reşit çocuğunun, annesinin, babasının, en büyük reşit kardeşlerinden birinin talep etmesi üzerine ilgili valilikçe, şehitlikte temsili mezar yaptırılacak.
Yurt içinde ve yurt dışında bulunan yerlerden, genel veya bölgesel bir savaşta hayatını kaybedenlerin defnedildiği yerler ve mezarlıklar, hareket halinde bulunan askeri birliklerin toplu bulunduğu yerlerde hayatını kaybedenlerin defnedildiği yerler de şehitlik olarak belirlenebilecek.
- Şehitlik yeri valilik ve Dışişleri Bakanlığınca belirlenecek
Şehitlik yerlerinin belirlenmesi işlemleri, yurt içinde valiliklerce, yurt dışında Dışişleri Bakanlığı aracılıyla ilgili ülkelerle varılacak mutabakata göre yürütülecek.
Yurt içinde valilikler tarafından belirlenen şehitlik yerleri, büyükşehir olan illerde yatırım izleme ve koordinasyon başkanlıkları, diğer illerde il özel idareleri tarafından edinilerek, kendi adlarına tapuya tescil ettirilecek.
Şehitlik yeri olarak belirlenen alan içinde Hazine'nin özel mülkiyetinde bulunan taşınmazlar veya devletin hüküm ve tasarrufu altındaki yerler ile mülkiyeti kamu idarelerine ait taşınmazların bulunması halinde, bu taşınmazlar şehitlik olarak kullanılmak üzere duruma göre Maliye Bakanlığı ya da maliki kamu idaresi tarafından ilgili yatırım izleme ve koordinasyon başkanlığına veya il özel idaresine tahsis edilecek.
- Şehitliklere standart
Yurt içinde bulunan şehitliklerin yönetim, inşa, bakım, onarım ve koruma işlemleri valilikler, yurt dışında bulunanların ise büyükelçilikler, büyükelçilik bulunmayan yerlerde Dışişleri Bakanlığının o yerdeki temsilcilikleri tarafından yürütülecek.
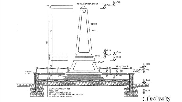
Yurt içindeki şehitliklerde, "Tip Anıt Projesi" uygulanacak, ancak özellik arz eden şehitliklerde özel proje uygulaması yapılabilecek.
Şehitliklerde yeterli büyüklükte tören alanı ayrılacak. Şehitliğin emniyete alınması amacıyla çevre emniyet duvarı inşa edilecek. Valiliklerce inşaat yatırım programına alınan şehitliklerde, bütçe durumu gözetilerek albüm binası ve bekçi evi kurulacak.
Şehitliklerde uygulanacak aydınlatma, sulama, teraslama, bahçe ve yaya yolları gibi altyapıya ilişkin standartlar valiliklerce belirlenecek.
Şehitliklerin gelişimine yönelik hazırlanacak proje çalışmalarında, mevcut imalatlar azami derecede değerlendirilecek ve projelendirmede dikkate alınacak.
- Mezara dikilecek bitkinin cinsi için plan
Mezarların ada ve parsellerini, bunlara giden yolları, çiçek tarhlarını, şehitliğin bulunduğu yerin iklimine ve arazi durumuna göre dikilecek bitkilerin cins ve yerlerini, sınırlara konulacak bordür taşlarını ve çevre duvarı gibi tesisleri kapsayan plan hazırlanacak.
Plana göre, her ada ve parselde bulunan mezarlar, birden başlamak üzere numaralandırılacak. Şehitliklere bu ada ve parsele göre belirlenen sıra numarasına göre defin yapılacak. Bir ada veya parsel bitmeden, diğer ada veya parsele defin yapılmayacak.
Şehitliklerde herkes tarafından görülebilecek uygun bir yerde, tarihçenin belirtileceği kitabe ile ada ve parselleri gösteren vaziyet planı yer alacak. Şehitliklerde şeref defteri ile şehitliğe defnedilenlerin fotoğrafı, kimliği ve öz geçmişini içeren albüm bulundurulacak.
Yurt dışındaki şehitlikler, Dışişleri Bakanlığı aracılığıyla ilgili ülkelerle varılacak mutabakata göre düzenlenecek.
- Ödenek İçişleri Bakanlığı bütçesinden
Yurt içinde bulunan şehitliklerin yönetim, inşa, bakım, onarım ve koruma işlemlerine ilişkin, valiliklerce hazırlanan keşif raporları, ödeneğin planlanması için müteakip yılın mart ayı sonuna kadar İçişleri Bakanlığına gönderilecek. Söz konusu giderler, İçişleri Bakanlığı bütçesinin ilgili tertibinden ödenecek.
Şehitliğe defnedilmesi mümkün olduğu halde, yakınlarının talebi üzerine şehitlik dışına defni yapılanların mezarının inşa, bakım ve onarım işlemleri için gerekli ödenek planlaması müteakip yılın mart ayı sonuna kadar ilgili valilikçe, İçişleri Bakanlığına gönderilecek. Söz konusu giderler, İçişleri Bakanlığı bütçesinden karşılanacak.
Yurt dışında bulunan şehitliklerin yönetim, inşa, bakım, onarım ve koruma işlemleri için mahalli rayice göre belirlenen ödenek ihtiyacı, sorumlu büyükelçilik veya temsilcilik tarafından ağustos ayı sonuna kadar Dışişleri Bakanlığına gönderilecek. Söz konusu giderler, Dışişleri Bakanlığı bütçesinin ilgili tertibinden ödenecek.
- Mezarların inşa, bakım ve onarımı
Şehitliğe defnedilenlerle şehitliğe defnedilmesi mümkün olduğu halde, yakınlarının talebi üzerine şehitlik dışına defni yapılanların mezarları, "Tip Mezar Projesi"ne göre valilikler tarafından inşa ettirilecek.
Şehitliğe defnedilmesi mümkün olduğu halde, yakınlarının talebi üzerine şehitlik dışına defni yapılanların mezarlarının bakımı ve onarım işlemleri, yakınlarınca talep edilecek ve uygun bulunması halinde valilikler tarafından yaptırılacak.
- Şehitliklerde tutulacak kayıtlar
Şehitliklerde bir kayıt defteri bulunacak. Bu defterde, şehitliğe defnedilenin kimlik bilgileri, fotoğraf, ölüm tarihi ve defin tarihi, şehitliğe defnedilme sebebi, şehitliğe defin kararı veren makamın yazısının tarih ve numarası ile şehitlikte defnedildiği yere ait ada, parsel ve mezar numaraları yer verilecek.
Şehitliğe defin kararı veren makamın talep etmesi halinde söz konusu bilgiler, kayıt defterine kaydedilmeyecek.
- Dışişleri Şehitliğine ilişkin işlemler
Ankara'daki Cebeci Asri Mezarlığı içinde bulunan Dışişleri Şehitliğine ilişkin iş ve işlemler, Dışişleri Bakanlığı tarafından yürütülecek.
Defin kararı alınmasından defnin tamamlanmasına kadar geçen süreçte şehitliğe defin kararı almaya yetkili makamlarca yapılacak işlemler, bu yönetmelik hükümleri dikkate alınarak ilgili makamlarca belirlenecek.
- Yönetmelik 1 ay sonra yürürlükte
Yönetmeliğin yürürlüğe girdiği tarihten önce kamu idarelerine şehitlik olarak tahsis edilmiş alan içinde kalan Hazine'nin özel mülkiyetinde bulunan taşınmazlar veya devletin hüküm ve tasarrufu altındaki yerler ile mülkiyeti kamu idarelerine ait taşınmazlar, şehitlik olarak kullanılmak üzere 1 yıl içinde Maliye Bakanlığı veya maliki kamu idaresi tarafından ilgili yatırım izleme ve koordinasyon başkanlığına veya il özel idaresine tahsis edilecek.
Mevcut şehitliklerin kullanımına tahsis edilen araç, gereç ve tüm taşınırlar, 6 ay içinde ilgili yatırım izleme ve koordinasyon başkanlığına veya il özel idaresine devredilecek.
Mevcut şehitliklerde, kullanım yeri bitinceye kadar bütünlüğün bozulmaması için mevcut mezar projelerinin uygulanmasına devam edilecek.
Tip Mezar Projesi ile Tip Anıt Projesine ilişkin planların da yer aldığı yönetmelik, yayımı tarihinden 1 ay sonra yürürlüğe girecek.














